
Descripción
Unlimited functionality. The maneuverability of the pipe is essential to cover the largest possible work space. Fully removable spout with greater travel, since the hose is extracted from the same spout. Full 180° rotation faucet.
SPECIFICATIONS
- Material: 304 Stainless Steel
- Special coating: PVD (black model)
- Spout: Removable with spray (spray model)
- Spray Version: Jet - Shower (spray model)
- Expandable hose: Gray Nylon
- Extendable hose length: 1,500 mm
- Aerator: Laminar
- Head rotation: 180°
- Control opening: 0 / 90
- Flow rate: 8.6 L/min (3 bar)
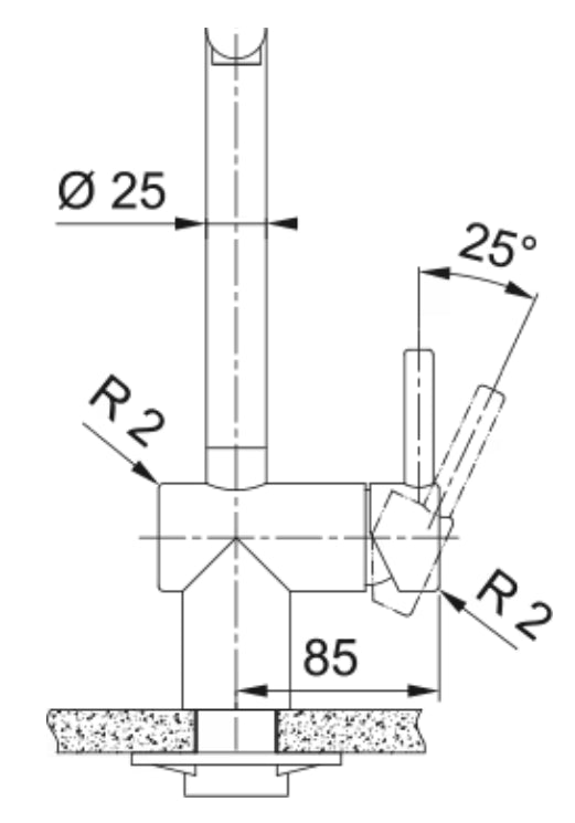
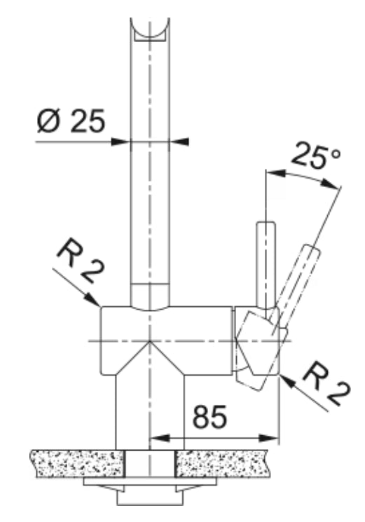
- Hole diameter: 35 mm
Ref.: 115.0681.242