
Descripción
Absolutely modern, aesthetic and practical faucet. It is subjected to strict quality tests, both with pressurized water and air, imposing a certain number of opening-closing cycles equivalent to fifteen years of product life.
CHARACTERISTICS
- Minimalist design, clean lines and elongated handle. Available in different finishes
- Easy filling of large pots and all types of containers
- Control opening 0º / 90º, ideal for installation against a wall
- Laminar aerator: guarantees a more crystalline jet, in addition to reducing splashes and limescale generation
- PDV finish: this is a high-quality surface treatment that gives strength and greater durability to the faucet
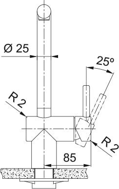
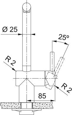
SPECIFICATIONS
- Material: 304 Stainless Steel
- Special coating: PVD (color models)
- swivel spout
- Laminar Aerator
- Head rotation: 180º
- Control opening: 0/90
- 12.2L/Min (3 bar)
- Hole diameter: 35 mm
Ref: 115.0681.241